美团创始人王兴曾说过,“看起来美团外卖的对手是饿了么,但最可能颠覆外卖的却是还没关注到的公司和模式。”
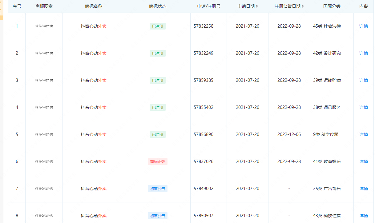
可以说是一语成谶。抖音最近被曝入局外卖市场,并被传出3月1日上线外卖服务,要硬刚美团和饿了么。早在2021年,外卖市场规模就突破了1万亿元,但是渗透率只有52.4%,市场空间还很大,抖音当然不会错过。 以抖音的用户体量,加上短视频和直播内容助推,抖音入局外卖市场,有可能会改变现有的市场格局。 据企查查显示北京字跳网络技术有限公司已成功注册多枚“抖音心动外卖”商标,国际分类包括教育娱乐、通讯服务、社会服务等,以上商标均申请于2021年7月。此外,该公司申请的“心动外卖小程序软件”也于2021年10月获得登记批准。 但是!小编看到除了抖音注册抖音心动外卖外,还有一个名叫王远龙在2021年7月也注册了很多个“心动外卖”商标.而且有部分小项已经注册下来。 小编认为,如果抖音真的决定了要做外卖行业.商标全类注册在所难免。但是现在有部分小项被别人注册,这对于抖音来说肯定是很大的损失。不知道后续抖音会不会对商标提出来无效或者以后会不会对商标提出来撤三,让我们拭目以待!




德聚仁合知识产权不仅提供商标注册的业务,我们还有商标交易、商标转让、商标设计,如果你对于自己的商标设计感到不满意,也可以再设计哦~ 服务热线:400-030-9299
企业财务安全顾问平台
我们的业务