最近一段时间,关于钟睒睒的话题有点多。
他是谁?干嘛的?网友有很多都不知道。但是农夫山泉总知道吧?他是农夫山泉的创始人!
在胡润研究院发布《胡润百富榜》中,68岁的钟睒睒以4550亿元的财富,打破了20多年来中国首富财富的最高记录。
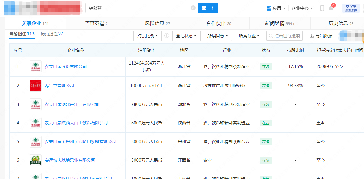
来看看“大自然搬运工”传奇人物 《胡润百富榜》相比去年排名,前三名的排序没有变动。 钟睒睒蝉联首富宝座,字节跳动创始人张一鸣位列第二,宁德时代创始人排名第三,这足以证实了短视频和新能源行业强大的吸金能力。 说回钟睒睒,他凭借旗下农夫山泉和万泰生物两家上市公司稳定的股价表现,财富相比去年增长了650亿,达到了4550亿的惊人数字,创下纪录。 钟睒睒手中有一大王牌,那就是国内知名的医疗公司养生堂。 公开信息显示,钟睒睒于1993年创办养生堂,打响了养生堂龟鳖丸、朵而胶囊等品牌。 养生堂旗下可以说是卧虎藏龙,连农夫山泉都只是养生堂旗下的一家分公司,曾经卖过龟鳖丸的养生堂,在21世纪转投了科学的怀抱。 2001年,钟睒睒斥资1710万元,收购了生物医药公司万泰生物,开始进军生物疫苗行业。 2019年12月30日,万泰生物历时18年研发的二价HPV疫苗“馨可宁”成功拿到注册批件,成为首个获批上市的国产HPV疫苗。 这款二价疫苗打破了默沙东、葛兰史素克等国际巨头的行业垄断,凭借更低的价格和更高的产量,一举拿下了中国HPV疫苗市场高达65%的份额。 万泰生物趁势在2020年上市,据悉2021年仅靠这一只疫苗收入就超过30亿。 目前,钟睒睒直接持有农夫山泉17.15%股权,持股万泰生物18.17%,对养生堂持有56.98%的股份。这样的持股比例奠定了钟睒睒4550亿元的身价财富。 钟睒睒被誉为营销之神 据悉,1993年8月13日,中国女子长跑队斩获了三枚女子长跑金牌。教练马俊仁在接受采访时,提到了两个致胜秘方——鳖精加苦练。 民风淳朴的时代,国家队金牌教练无意中的背书,让一款中华鳖精在全国大卖,效果越传越玄乎。 钟睒睒则聘请了3名中医药大学的专家,开发出号称冷冻干燥再粉碎的新技术,把全龟全鳖化成粉,推出了他的发家力作“养生龟鳖丸”。 钟睒睒主动开放工厂,请来记者和消费者参观,同时发动门路,办起了龟鳖药用价值的研讨会,请来一众教授、专家背书。 自此钟睒睒的养生堂,赢得了真材实料、质量过硬的美名。 此时的钟睒睒决心进军“永恒的”饮用水行业。 早在20世纪末,中国的瓶装饮用水行业,横亘着两大巨头,一个是娃哈哈,一个是乐百氏。 而此时的门外汉钟睒睒,一没名气,二没技术。只能望着家乡千岛湖深邃清冽的水源叹息。他深知,人可以不买保健品,但不可能不喝水。 这是门永恒的生意,自己一定要干! 接下来,农夫山泉极尽所能强调“天然”要素:水源地建厂、水源地灌装。 2000年开始,农夫山泉从此不再生产纯净水,只生产天然水。 并宣称:“天然水中含有的钾、钠、钙、镁等离子,对维持生命的正常态生长极为重要,而纯净水与之相比则有着显着的差异。” 央视黄金时段的广告轰炸:“农夫山泉有点甜”、“天然水不是纯净水”、“好水喝出健康来”,更是让“农夫山泉”深深植入人心。 从2012年到2022年,农夫山泉连续10年保持着中国包装饮用水市场占有率第一的位置,凭借高达60%的毛利率,成为业内最赚钱的公司,人称大自然的“印钞机”。 钟睒睒凭借着瓶装水这门不起眼的生意,终成一方巨富。 农夫山泉的商标布局方面 值得一提的是,“钟睒睒”商标曾被桐乡市某服饰公司、宁波某管理公司及自然人鲁某申请注册,国际分类涉及啤酒饮料、方便食品、广告销售等,申请日期为2020年8月、10月,多数商标被驳回或者商标无效。 目前,农夫山泉并未申请“钟睒睒”商标。 此外,对于品牌知识产权的保护,网上信息显示,农夫山泉股份有限公司可查商标信息共1137条,其中包含人们熟悉的子品牌“尖叫”“东方树叶”等,也不乏一些广告语“农夫山泉有点甜”“ 农夫山泉 大自然的搬运工”等,更有一些防御商标诸如“农夫三拳”等,品牌各方面的商标保护十分到位。 虽然在品牌运作方面,钟睒睒对于知识产权的保护意识十分到位,但在自身姓名的保护方面,钟睒睒却并没有进行商标布局,这就给了有心人可乘之机。 网上信息显示,“钟睒睒”商标被申请过多次,最早一件“钟睒睒”商标的申请时间为2020年8月,此时的钟睒睒刚刚以121亿美元身家名列福布斯中国医疗健康富豪TOP50榜第6位。 抢注商标者向商标局提出了商标申请,至今为止,尚未有任何一件“钟睒睒”商标通过商标局的审核,除却有三件商标状态为“注册申请中”之外,其他商标状态均已显示“商标无效”。 申请“钟晱晱”商标的,商标局毫不留情的予以驳回,但就是天外有天人外有人,有家公司申请“晱晱山泉”商标注册居然就成功了! “晱晱山泉”初步审定之初,农夫山泉公司已经开始阻击战,可惜他们的异议理由没搞对,导致异议失败。 主张“晱晱山泉”商标和其“农夫山泉”构成同一种或类似商品的近似商标,并证明“农夫山泉”获得过驰名商标保护,请求“晱晱山泉”不予注册。 商标局认为“晱晱山泉”和“农夫山泉”差别甚大,予以核准“晱晱山泉”商标的注册。 此后,农夫山泉提起无效宣告申请。理由是“钟晱晱”为农夫山泉公司的法定代表人,同时也是农夫山泉的创始人,在饮料行业具有较高知名度,“晱晱山泉”损害了钟晱晱的姓名权。 为了证明钟晱晱的知名度,他们提交了“养生堂总裁钟晱晱做客央视《对话》栏目”等媒体报道。 商标局认为,农夫山泉公司主张“钟晱晱”的姓名权,但却没有提交有效证据证明其已获得钟晱晱先生的授权在本案中主张姓名权,提起该主张的主体资格不符,予以驳回。 商标局于2022年9月做出该裁定,农夫山泉公司会否启动诉讼程序还未可知。 根据《最高人民法院关于审理商标授权确权行政案件若干问题的规定》,将政治、经济、文化、宗教、民族等领域的公众人物姓名申请注册为商标,属于将产生“其他不良影响”的行为,是不能够被注册为商标的。 因此,只要创始人钟睒睒出具代理姓名权授权书,抢注“睒睒山泉”商标的人可能要白费心思了。 如若农夫山泉在进行商标布局时,考虑到其创始人的名字而进行防御性商标布局,或许类似“傍名牌”事件可避免。 此外,在未获得授权的情况下,将名人的姓名抢注为商标,其行为必然会面临重重法律及市场风险。 “睒睒山泉”商标事件的最终发展,或许会给那些投机取巧,商标“蹭流量”“傍名人”恶意抢注的商家和个人一些警示吧!





德聚仁合知识产权不仅提供商标注册的业务,我们还有商标交易、商标转让、商标设计,如果你对于自己的商标设计感到不满意,也可以再设计哦~ 服务热线:400-030-9299
企业财务安全顾问平台
我们的业务