前有今日头条,后有今日油条!
前有 “秋天的第一杯奶茶”,后就有人刷屏的当天递交申请了“冬天的第一顿火锅”!
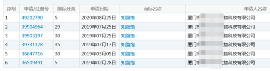
前有支付宝,后就有知腹饱!
不得不说,汉字文化博大精深,人类的智慧无穷无尽。
知腹饱,这是什么梗? 据查询,上述申请知腹饱商标的公司,名下多枚商标都申请出了谐音梗。从知腹饱(支付宝)到“梅压粒”(没压力), “梅富丹”(没负担),再到“涨婷”(涨停)。 对此有网友表示:“谐音梗申请商标可谓充满了语言智慧,这是一个想象力的挑战,挺有趣。” 不过,也有网友认为此举是‘碰瓷’,对此持戏谑吐槽的态度,表示“小企业蹭大品牌热度,宣传和收益上会更香。” 据查询:知腹饱35类商标审核通过后在公示期内,阿里巴巴集团控股有限公司已及时提出异议,对方也做了答辩,目前审核结果还未出来。 笔者个人认为:碰瓷知名商标或大牌商标从法律和道德层面都是不可取的,短期内虽有可能引来流量,提升一定的知名度,但更有可能引来的是官司,支付的是巨额赔偿。(不过,任何事情都需要在适度合理的范围内,反过来大牌也不能仗着自己坐拥知名度,过度维权。) 下面,我们来看两例巨额赔偿的商标案例: 案例一: 深圳市微信食品股份有限公司于2016年8月受让取得第10213090号“微信”商标,在深圳多处开设以“微信食品”为店招的生态体验餐厅、社区生活超市和生态体验会所,因在名称中使用“微信食品”、“WECHAT FOOD”字样,被腾讯公司以侵害商标权和不正当竞争为由诉至法院。最终,北京知识产权法院一审判决微信食品公司赔偿腾讯公司1000万元,并在一定期限内变更企业名称,不得含有“微信”字样,同时其微信食品商标也被无效宣告掉了。 案例二: 深圳市亿百度餐饮管理有限公司于2009年成立的百度烤肉,是一家以“纸上烧烤”为特色的中式餐饮连锁企业;百度成立于2000年1月,是全球最大的中文搜索引擎服务提供商,在百度烤肉成功引起了百度公司注意后,百度公司以侵害商标权及不正当竞争将亿百度告上法庭。广东省高级人民法院二审判决认为,虽然原告商标核准注册服务类别与被告实际使用服务类别相差甚远,但消费者看到“百度烤肉”等字眼时,仍然会首先将被告的餐饮服务与“百度”商标及原告建立直接联系,容易导致混淆,误导公众,侵害了“百度”驰名商标的相关权益,最终判决赔偿350万元。 不得不说,商标品牌受法律保护,国家对知名驰名商标保护力度较大,企图靠“碰瓷”、“搭便车”快速获取流量的捷径行为实不可取,只有尊重知识产权,才能激发市场活力,从长远发展的角度上讲,企业要想获得真正发展,还是需要建立良好口碑,打造自身品牌。 来源:商标圈 作者:史瑞瑞 德聚仁合知识产权不仅提供商标注册的业务,我们还有商标交易、商标转让、商标设计,如果你对于自己的商标设计感到不满意,也可以再设计哦~ 服务热线:400-030-9299




