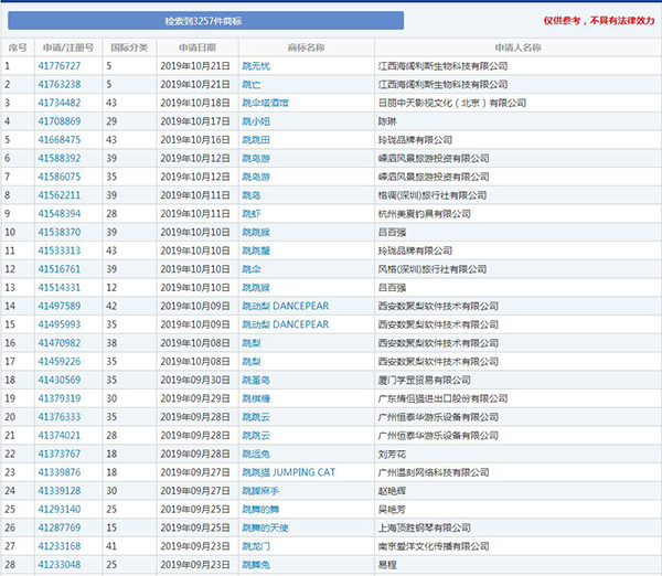
在2018年初的时候,如果你必须要有一个更新微信的理由,那一定是2017年底微信上线的“跳一跳”!
当时的跳一跳绝对是一款现象级的小游戏! 不仅玩得方便,而且还可以暗暗地和自己的朋友较劲! 许多人都为了玩这个跳一跳而更新了微信! 不过,或许是因为跳一跳这个名字太过于普通,导致腾讯在跳一跳游戏商标上栽了跟头! 2017年12月28日,跳一跳游戏发行,第二天,也就是2017年12月29日,腾讯就申请了四枚有关“跳一跳”的商标! 不过,腾讯顺利注册的只有两枚! 其他两枚“跳一跳”商标均被驳回了! 第28436786号“跳一跳”商标也是腾讯在2017年12月29日提交的申请,指定使用在第42类,计算机软件设计,远程数据备份,计算机游戏软件的设计和开发等服务上。 商标局给出的解释是,腾讯的“跳一跳”与第4456520号商标、第27931044号商标两件引证商标易为近似商标,因此不能被注册成商标! 虽然经复审查明,第4456520号商标因期满未续展,已经丧失了商标专用权,但是,第二件商标仍为有效的在先申请商标。 商标局认为:腾讯提交的证据并不足以证明“跳一跳”申请商标经使用已产生了与引证商标二相区分的显著性,因此复审时再次被驳回了! 那么有关“跳”的商标会有多少呢? 据小编在中国商标网上查询后发现,共有3257件申请商标,而且还有人在不断地注册中! 那么商标撞车也是在所难免的! 可在同一批公告中,有这么一件“跳一跳大冒险”商标被注册通过了! 第29843800号“跳一跳大冒险”商标是武汉某技术公司于2018年3月27日申请的,指定使用在第9类,计算机程序(可下载软件),计算机游戏软件,可下载的计算机应用软件等服务上。 结果不同的是,武汉技术公司所申请的这件商标,经复审,知识产权局作出了予以初步审定的决定。 那么问题来了,腾讯在2017年12月29日也已经注册了9类的“跳一跳”商标,并且已经注册成功! 莫非?跳一跳和跳一跳大冒险的区分性是比较显著性的吗? 那么在同一类别、相似服务上,“跳一跳大冒险”的初步审定对于腾讯的“跳一跳”商标会否造成影响? 注册商标真的看运气吗?商标局说你的商标不行就不行吗? 不是的!商标在注册前,一定要做好审查的工作,专业的审查可以排除行业因素带来的隐形麻烦以及降低商标被商标局认定为近似商标的可能性! 每一枚健在的商标都不容易,商标注册成功后,可能还会遭到他人的异议和撤三的请求。 如果不能及时地回复商标局,那么很大可能你的商标也会被商标局宣告无效的! 河南德聚仁合会计师事务所 企业财务安全顾问平台 财富热线:400-030-9299 我们的业务 注册公司 代理记账 税务咨询 商标注册



