嘀嘀公司在完善自己机制保障司乘安全的时候,也在大力发展着其他嘀嘀事业。

作为“滴滴出行”产品矩阵中的一员,“滴滴公交”由“滴滴巴士”于2016年品牌升级更名而来。

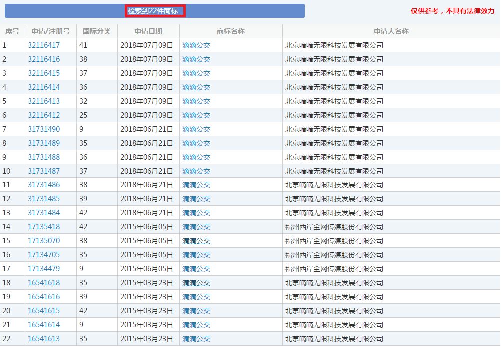
早在“滴滴公交”面世一年多前,北京嘀嘀无限科技发展有限公司便已提前对“滴滴公交”进行了商标布局。但从提出商标注册申请至今已4年有余,嘀嘀公司仍面临着“滴滴公交”商标在计算机档案中进行数据检索(替他人)等服务上(通俗讲就是35类)注册未果的局面。
是否相近?
这次商标事件,主要有两件相似的商标。
2014年12月26日,深圳市七号科技有限公司注册了第16025983号“滴滴滴打印”商标。

引证商标1
2015年3月17日,北京学而思教育科技有限公司注册了第16503463号“滴滴家教”商标。

引证商标2
虽然,嘀嘀公司提起了异议和无效申请,但是北京知识产权法院经审理认为两件商标仍为合法有效的在先商标,而且因为“滴滴公交”的35类与其注册类别相似,因此这两件商标一直是滴滴诉争商标获准注册的法定障碍。
据最新的消息,北京市高级人民法院7月4日在北京法院审判信息网上公开的判决显示,嘀嘀公司的上诉未能得到法院支持,其在商业信息、通过网站提供商业信息、替他人推销、为商品和服务的买卖双方提供在线市场、在计算机档案中进行数据检索(替他人)服务(下统称复审服务)上提交的“滴滴公交”商标的注册申请,最终未能如愿获得核准。
也就是说北京市高级人民法院,维持一审判决,支持北京知识产权法院对“滴滴公交”的无效判决!

其实,嘀嘀公司一直不服判决,从2015年到2019年,不断地再申请,持续地提起上诉。
能否共存?

2017年12月,原商评委作出复审决定认为,复审服务与两件引证商标核定使用服务属于同一种或类似服务,诉争商标的显著识别部分“滴滴”与引证商标一的显著识别部分“滴滴”文字相同、与引证商标二的显著识别部分“滴滴滴”文字相近,若共同使用在上述同一种或类似服务上,易使相关公众对服务来源产生混淆、误认,构成使用在同一种或类似服务上的近似商标。

北京知识产权法院经审理认为,诉争商标和两件引证商标均是由普通印刷字体构成的文字商标,且文字部分均包含“滴滴”二字,诉争商标和两件引证商标在文字构成、整体外观、呼叫等方面相近,共同使用在同一种或类似服务上时,容易使相关公众产生混淆、误认,构成使用在同一种或类似服务上的近似商标。
所以,各位看官,对于“滴滴公交”商标这件事你们怎么看呢?
小编觉得,最重要的一点还是“滴滴公交”商标的注册晚了,两件引证商标注册时间都在“滴滴公交”之前,如果说早一步,是否情况会完全不一样呢?